2014-05-22 2014, Volume 8 Issue 3

  • Select all
  • REVIEW ARTICLE
    Dong ZHANG , Lizhong ZHU

    Bioremediation of hydrophobic organic compounds (HOCs) contaminated soils involves several physicochemical and microbiological interfacial processes among the soil-water-microorganism interfaces. The participation of surfactants facilitates the mass transport of HOCs in both the physicochemical and microbiological interfaces by reducing the interfacial tension. The effects and underlying mechanisms of surfactants on the physicochemical desorption of soil-sorbed HOCs have been widely studied. This paper reviewed the progress made in understanding the effects of surfactant on microbiological interfacial transport of HOCs and the underlying mechanisms, which is vital for a better understanding and control of the mass transfer of HOCs in the biodegradation process. In summary, surfactants affect the microbiological interfacial behaviors of HOCs during three consecutive processes: the soil solution-microorganism sorption, the transmembrane process, and the intracellular metabolism. Surfactant could promote cell sorption of HOCs depending on the compatibility of surfactant hydrophile hydrophilic balance (HLB) with cell surface properties; while the dose ratio between surfactant and biologic mass (membrane lipids) determined the transmembrane processes. Although surfactants cannot easily directly affect the intracellular enzymatic metabolism of HOCs due to the steric hindrace, the presence of surfactants can indirectly enhanced the metabolism by increasing the substrate concentrations.

  • REVIEW ARTICLE
    Wei LI , Mengze HU

    Considering the significant roles of the policies in developing environmental finance, an overview is conducted on the environmental finance policies (EFPs) in China. This paper analyzed the definition, scope, evolution and main instruments of EFPs. The implementation progress of financial activities on each instrument are investigated respectively. Then the experiences learned from and failures discovered in the development of the EFPs are discussed well recommendations for further improvement of the EFPs and their implementation are provided. Our study found that the EFPs have been established in China after a four-phase evolution since the early 1980s. The policies have played a critical role in leading to a rapid development in environmental finance by involving more financial instruments to accomplish the objective-led environmental plans. Driven by the policies, the new green credit (GC), green security (GS), and green insurance (GI) instruments have been phased in as supplements to the conventional command and control approaches to improve the environmental governance of financial activities and pollution sources. However, the market mechanism of financial institution is limited due to their defensive and incapable performance on implementation some of EFP instruments. To further strengthen the effectiveness of EFPs in facilitating environmental management, recommendations are made mainly on the aspects including developing more specific policy guidelines, enhancing information sharing and disclosure, providing sufficient economic incentives, establishing environmental liabilities with financial activities, and involving issues related to climate change, and biodiversity and ecosystem service.

  • RESEARCH ARTICLE
    Hanchao LIU , Suping FENG , Nannan ZHANG , Xiaolin DU , Yongli LIU

    Humic acid (HA) was impregnated onto powdered activated carbon to improve its Cu(II) adsorption capability. The optimum pH value for Cu(II) removal was 6. The maximum adsorption capacity of HA-impregnated activated carbon was up to 5.98 mg·g-1, which is five times the capacity of virgin activated carbon. The adsorption processes were rapid and accompanied by changes in pH. In using a linear method, it was determined that the equilibrium experimental data were better represented by the Langmuir isotherm than by the Freundlich isotherm. Surface charges and surface functional groups were studied through zeta potential and FTIR measurements to explain the mechanism behind the humic-acid modification that enhanced the Cu(II) adsorption capacity of activated carbon.

  • RESEARCH ARTICLE
    Chengli TANG , Wei YAN , Chunli ZHENG

    This work investigated the degradation of humic acid (HA) in aqueous solution by electrochemical oxidation with Antimony- and Nickel-doped Tin oxide electrode (Ni-Sb-SnO2/Ti electrode) as the anode. Initial concentrations of HA ranged from 3 to 9 mg·L-1. Under such a concentration scope, the degradation of HA was a mass transfer controlled process. Degradation rate increased with the increase of HA initial concentration. Test on the effect of tert-butanol revealed that ·OH played an important role in the oxidation of HA. The absence of cation Ca2+ was beneficial to HA degradation, which suggested that both indirect and direct electrolyze happened during the whole electrochemical oxidation process. Alkaly (pH= 12) and neutral (pH= 7) conditions were benefical to HA degradation.

  • RESEARCH ARTICLE
    Mohammad Mehdi Amin , Bijan Bina , Amir Masoud Samani Majd , Hamidreza Pourzamani

    Benzene removal from aqueous solutions was evaluated using Fe3O4 nano magnetic particles (NM) in continuous condition. A 44 factorial design including initial benzene concentration, NM dose, contact time and pH was investigated in 16 experiments (Taguchi OA design). The results indicated that all factors were significant and the optimum condition was: pH 8, NM dose of 2000 mg·L-1, benzene concentrations of 100 mg·L-1 and contact time of 14 min. The maximum benzene uptake and distribution ratio in the optimum situation were 49.4 mg·g-1 and 38.4 L·g-1, respectively. The nano particles were shown to capture 98.7% of the benzene in optimum batch condition and 94.5% in continuous condition. The isotherm data proved that the Brunauer-Emmett-Teller model fit more closely and produced an isotherm constant (b) less than one, indicating favorable adsorption. Regeneration studies verified that the benzene adsorbed by the NM could be easily desorbed by temperature, and thereby, NM can be employed repeatedly in water and wastewater management.

  • RESEARCH ARTICLE
    Yimei WEI , Yuan ZHANG , Jian XU , Changsheng GUO , Lei LI , Wenhong FAN

    Precise and sensitive methods for the simultaneous determination of different classes of antibiotics, including sulphonamides, fluoroquinolones, macrolides, tetracyclines, and trimethoprim in surface water, sediments, and fish muscles were developed. In water samples, drugs were extracted with solid-phase extraction (SPE) by passing 1000 mL of water through hydrophilic lipophilic balanced (HLB) SPE cartridges. Sediment samples were solvent-extracted, followed by tandem SPE (strong anion exchange (SAX) + HLB) clean-ups. Fish muscles were extracted by a mixture of acetonitrile and citric buffer (80:20, v/v) solution, and cleaned by SPE. Liquid chromatography–tandem mass spectrometry (LC-MS/MS) with multiple reaction monitoring (MRM) detection was employed to quantify all compounds. The recoveries for the antibiotics in the spiked water, sediment, and fish samples were 60.2%–95.8%, 48.1%–105.3%, and 59.8%–103.4%, respectively. The methods were applied to samples taken from Dianchi Lake, China. It showed that concentrations of the detected antibiotics ranged from limits of quantification (LOQ) to 713.6 ng·L-1 (ofloxacin) in surface water and from less than LOQ to 344.8 μg·kg-1 (sulphamethoxazole) in sediments. The number of detected antibiotics and the overall antibiotic concentrations were higher in the urban area than the rural area, indicating the probable role of livestock and human activities as important sources of antibiotic contamination. In fish muscles, the concentration of norfloxacin was the highest (up to 38.5 μg·kg-1), but tetracyclines and macrolides were relatively low. Results showed that the methods were rapid and sensitive, and capable of determining several classes of antibiotics from each of the water, sediment, and fish matrices in a single run.

  • RESEARCH ARTICLE
    Qing XIA , Deyang KONG , Guoqiang LIU , Qingguo HUANG , Aamr ALALEWI , Junhe LU

    The removal of 17β-estradiol (E2) in laccase catalyzed oxidative coupling processes was systematically studied in this work. We focused on the influence of pH and natural organic matter (NOM) on the performance of the enzymatic treatment processes. It was found that the optimal pH for E2 removal was between 4 and 6. The removal of E2 was slightly inhibited in the presence of NOM. Enzymatic transformation of E2 was second-order in kinetics with first-order to both the concentrations of the enzyme and contaminant. Mass spectrum (MS) analysis suggested that coupling products were formed through radical-radical coupling mechanism. The results of this study demonstrated that laccase catalyzed oxidative coupling process could potentially serve as a treatment strategy to control steroid estrogens.

  • RESEARCH ARTICLE
    Wenchuan DING , Wenlong PENG , Xiaolan ZENG , Xiumei TIAN

    To investigate effects of phosphorus content on Cr(VI) sorption onto phosphorus-rich biochar, sewage sludge of different phosphorus concentrations from 4 to 60 mg·g-1 by dry weight were prepared and carbonized to make biochar for batch sorption experiments. Test results revealed that different phosphorous concentration of raw sludge had respective impacts on surface area, pore surface area, average pore diameter and pH value of derived biochar. The adsorption kinetics of phosphorus-rich biochar could be described by the pseudo-second-order model. The sorption isotherm data followed Langmiur model better than Freundlich model. Biochar produced from sludge with phosphorus concentration of 20 mg·g-1 gave the largest chromium sorption capacity, which could be attributed to its largest surface area and pores surface area comparing with those of biochars from sludge with other phosphorus concentrations. The chromium loaded biochar was analyzed using Fourier Transform Infrared Spectroscopy and X-ray Diffraction measurement. The results indicated that chemical functional groups hydroxyl and methyl on surface of biochar were involved in Cr(VI) binding and its reducing to Cr(III). Then, a portion of Cr(III) in form of various phosphate precipitates was bound onto biochar surface and the rest was released into the solution. The experimental results suggested that phosphorus played an important role in pore and surface area development of sludge biochar during pyrolytic process. It also could react with Cr(III) on the biochar surface that impacted on capacity of Cr(VI) removal from solution by sludge biochar. Therefore, phosphorus concentration in sludge should be considered when sludge pyrolytic residue would be reused for heavy metals sorbing.

  • RESEARCH ARTICLE
    Robert D. ARTHUR , Jagadish TORLAPATI , Kyung-Hee SHIN , Daniel K. CHA , Yeomin YOON , Ahjeong SON

    Process control parameters influencing microbial perchlorate reduction via a flow-through zero-valent iron (ZVI) column reactor were investigated in order to optimize perchlorate removal from water. Mixed perchlorate reducers were obtained from a wastewater treatment plant and inoculated into the reactor without further acclimation. Examined parameters included hydraulic residence time (HRT), pH, nutrients requirement, and perchlorate reduction kinetics. The minimum HRT for the system was concluded to be 8 hr. The removal efficiency of 10 mg·L−1 influent perchlorate concentration was reduced by 20%–80% without control to the neutral pH (HRT= 8 hr). Therefore pH was determined to be an important parameter for microbial perchlorate reduction. Furthermore, a viable alternative to pH buffer was discussed. The microbial perchlorate reduction followed the first order kinetics, with a rate constant (K) of 0.761 hr−1. The results from this study will contribute to the implementation of a safe, cost effective, and efficient system for perchlorate reduction to below regulated levels.

  • RESEARCH ARTICLE
    Shengxiang YANG , Shichu LIANG , Langbo YI , Bibo XU , Jianbing CAO , Yifeng GUO , Yu ZHOU

    Screening plants that are hypertolerant to and excluders of certain heavy metals plays a fundamental role in a remediation strategy for metalliferous mine tailings. A field survey of terrestrial higher plants growing on Mn mine tailings at Huayuan, Hunan Province, China was conducted to identify candidate species for application in phytostabilization of the tailings in this region. In total, 51 species belonging to 21 families were recorded and the 12 dominant plants were investigated for their potential in phytostabilization of heavy metals. Eight plant species, Alternanthera philoxeroides, Artemisia princeps, Bidens frondosa, Bidens pilosa, Cynodon dactylon, Digitaria sanguinalis, Erigeron canadensis, and Setaria plicata accumulated much lower concentrations of heavy metals in shoots and roots than the associated soils and bioconcentration factors (BFs) for Cd, Mn, Pb and Zn were all<1, demonstrating a high tolerance to heavy metals and poor metals translocation ability. The field investigation also found that these species grew fast, accumulated biomass rapidly and developed a vegetation cover in a relatively short time. Therefore, they are good candidates for phytostabilization purposes and could be used as pioneer species in phytoremediation of Mn mine tailings in this region of South China.

  • RESEARCH ARTICLE
    Ziyang LOU , Xiaoli CHAI , Youcai ZHAO , Yu SONG , Nanwen ZHU , Jinping JIA

    Variation and evolution process of leachate can be applied as a reference for landfill stabilization phase. In this work, leachates with different ages were collected from Laogang Refuse Landfill, and characterized with 14 key parameters. Simultaneously, principal component analysis (PCA) was applied to develop a synthetic parameter-F based on these 14 parameters, and a logarithm equation was simulated for the landfill stabilization process finally. It was predicted that leachates would meet Class I and Class II in standard for pollution control on the landfill site of municipal solid waste (GB 16889-1997) after 32 years and 22 years disposal under the natural attenuation in the humid and warm southern areas of China, respectively. The predication of landfill state would be more accurate and useful according to the synthetic parameter F of leachate from a working landfill.

  • RESEARCH ARTICLE
    Daolin SUN , Jianwei YU , Min YANG , Wei AN , Yunyun ZHAO , Ning LU , Shengguang YUAN , Dongqing ZHANG

    A comprehensive investigation into the occurrence of odor problem at 111 drinking water treatment plants (DWTPs) in major cities across China was undertaken using both flavor profile analysis (FPA) and gas chromatography–mass spectrometry (GC-MS). Eighty percent of source water samples exhibited odor problems, characterized by earthy/musty (41%) and swampy/septic (36%) odors, while the occurrence rate was lower (45%) in the finished water. Source water from rivers exhibited more pollution-origin odors, such as the swampy/septic odor, while that from lakes and reservoirs exhibited more algae-origin odors, such as earthy/musty odors. The occurrence rate of 2-methylisoborneol (2-MIB) in the surface source water samples was 75%, with 7% of samples containing 2-MIB concentrations of over 10 ng·L-1. The earthy/musty odor in the lake/reservoir water samples was mainly caused by 2-MIB (linear regression coefficient, R2=0.69), while the correlation between 2-MIB concentration and the earthy/musty odor intensity in the river-source water samples was weak (R2=0.35). These results will be useful for the management of odor-quality problems in drinking water of China.

  • RESEARCH ARTICLE
    Piotr RZYMSKI , Barbara PONIEDZIALEK , Przemysław NIEDZIELSKI , Piotr TABACZEWSKI , Krzysztof WIKTOROWICZ

    The growth of human population leads to intensification of agriculture and promotes, through eutrophication, development of cyanobacteria. One of the most widespread and bloom-forming species in freshwater is toxic Microcystis aeruginosa (M. aeruginosa). Combustion of fossil fuels and metallurgical processes are the main sources of heavy metals contamination in surface water including cadmium (Cd) and lead (Pb). The following study was conducted in order to determine the effect of 1–20 mg·L-1 of Cd and Pb on photochemistry (using flow cytometry) and growth (based on chlorophyll concentration) of M. aeruginosa as well as to estimate levels of metal bioaccumulation. We have found that 1–10 mg·L-1 of Cd and 1–5 mg·L-1 of Pb induced continuous enhancement of chlorophyll fluorescence during 24 h of incubation. No significant degradation of chlorophyll was observed in these samples. At higher concentrations of 20 mg·L-1 of Cd and 10–20 mg·L-1 of Pb chlorophyll level significantly decreased and its fluorescence was quenched. M. aeruginosa demonstrated high capability of Cd and Pb bioaccumulation, proportionally to initial metal concentration. In samples with initial concentration of 20 mg·L-1 of Cd and Pb bioaccumulation of 87.3% and 90.1% was observed, respectively. Our study demonstrates that M. aeruginosa can potentially survive in highly metals polluted environments, be a primary source of toxic metals in the food chain and consequently contribute to enhanced toxicity of heavy metals to living organisms including human.

  • RESEARCH ARTICLE
    Tianxiang XIA , Lin JIANG , Xiaoyang JIA , Maosheng ZHONG , Jing LIANG

    Application of Probabilistic Risk Assessment (PRA) and Deterministic Risk Assessment (DRA) at a coking plant site was compared. By DRA, Hazard Quotient (HQ) following exposure to Naphthalene (Nap) and Incremental Life Cancer Risk (ILCR) following exposure to Benzo(a)pyrene (Bap) were 1.87 and 2.12 × 10-4. PRA revealed valuable information regarding the possible distribution of risk, and risk estimates of DRA located at the 99.59th and 99.76th percentiles in the risk outputs of PRA, which indicated that DRA overestimated the risk. Cleanup levels corresponding acceptable HQ level of 1 and ILCR level of 10-6 were also calculated for both DRA and PRA. Nap and Bap cleanup levels were 192.85 and 0.14 mg·kg-1 by DRA, which would result in only 0.25% and 0.06% of the exposed population to have a risk higher than the acceptable risk, according to the outputs of PRA. The application of PRA on cleanup levels derivation would lift the cleanup levels 1.9 times for Nap and 2.4 times for Bap than which derived by DRA. For this coking plant site, the remediation scale and cost will be reduced in a large portion once the method of PRA is used. Sensitivity analysis was done by calculating the contribution to variance for each exposure parameter and it was found that contaminant concentration in the soil (Cs), exposure duration (ED), total hours spent outdoor per day (ETout), soil ingestion rate (IRs), the air breathing rate (IRa) and bodyweight (BW) were the most important parameters for risk and cleanup levels calculations.

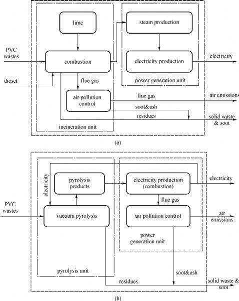
  • RESEARCH ARTICLE
    Yuehui WU , Guoliang WANG , Zhen WANG , Yi LIU , Ping GU , Dezhi SUN

    Two processes of utilizing polyvinyl chloride (PVC) waste, an incineration process and a vacuum pyrolysis process, for energy conversion were compared to determine their efficiency and environmental performance. We carried out a life cycle assessment with each of the two processes to evaluate their environmental impact and defined the goals and limits of our remit. As well, we established an inventory of PVC waste from incineration and vacuum pyrolysis based on process analysis, data collection and calculations. The results show that electrical power output per unit mass of PVC waste in the incineration process was twice as high as that of the vacuum pyrolysis process. Incineration had a larger total environmental impact potential than vacuum pyrolysis. The total environmental impact potential of PVC waste from incineration was three times higher than that from vacuum pyrolysis. Incineration of PVC disposed 300 ng·100 kg−1 of dioxins and vacuum pyrolysis 98.19 ng·100 kg−1 of dioxins. As well, we analyzed the data for their uncertainty with results quantified in terms of three uncertainties: basic uncertainty, additional uncertainty, and computational uncertainty. The coefficients of variation of the data were less than 25% and the quality of the inventory data was acceptable with low uncertainty. Both PVC waste disposal processes were of similar quality and their results comparable. The results of our life cycle impact assessment (LCIA) showed considerable reliability of our methodology. Overall, the vacuum pyrolysis process has a number advantages and greater potential for development of PVC disposal than the incineration process.

  • RESEARCH ARTICLE
    Bangmi XIE , Jiane ZUO , Lili GAN , Fenglin LIU , Kaijun WANG

    Self-made cation exchange resin supported nanoscale zero-valent iron (R-nZVI) was used to remove phosphorus in rainwater runoff. 80% of phosphorus in rainwater runoff from grassland was removed with an initial concentration of 0.72 mg·L–1 phosphorus when the dosage of R-nZVI is 8 g per liter rainwater, while only 26% of phosphorus was removed when using cation exchange resin without supported nanoscale zero-valent iron under the same condition. The adsorption capacity of R-nZVI increased up to 185 times of that of the cation exchange resin at a saturated equilibrium phosphorous concentration of 0.42 mg·L–1. Various techniques were implemented to characterize the R-nZVI and explore the mechanism of its removal of phosphate. Scanning electron microscopy (SEM) indicated that new crystal had been formed on the surface of R-nZVI. The result from inductive coupled plasma (ICP) indicated that 2.1% of nZVI was loaded on the support material. The specific surface area was increased after the load of nanoscale zero-valent iron (nZVI), according to the measurement of BET-N2 method. The result of specific surface area analysis also proved that phosphorus was removed mainly through chemical adsorption process. X-ray photoelectron spectroscopy (XPS) analysis showed that the new product obtained from chemical reaction between phosphate and iron was ferrous phosphate.